无期迷途深渊之下极限挑战源津通关配队指南分享

在《无期迷途》的深渊之下极限挑战中,战斗增幅高度依赖源津,尚未抽到源津的玩家,不太建议去尝试这个挑战。此关卡的通关关键在于合理运用【不朽】阵营的增益效果、把握技能释放的时机,以及在…

无限暖暖:微风绿野纪念之章盖章玩法全解析

在《无限暖暖》的全新一季里,敲下纪念之章属于活动任务范畴,玩家需在微风绿野地图内寻觅指定盖章点。小编精心梳理了微风绿野7到11的盖章位置,助力玩家能够迅速完成任务,无需来回反复寻找…

Steam平台迎来真人互动游戏《我的机器人女友》上架,Demo试玩即将与玩家见面

近日,时娱游戏制作发行的真人影游《我的机器人女友》已正式上线Steam商店页面。尽管游戏的具体上线日期尚未确定,但官方透露将推出试玩Demo。目前相关页面已开放,预计今年第四季度与…

靠《影之诗》和《赛马娘》大获成功,Cygames净利润激增136%

近日,日本知名游戏开发商Cygames发布了截至2025年9月财年的财务报告,显示营收与利润均取得显著增长。其中,公司净利润同比大幅提升136.5%,达217亿日元(约合1.402…

Shift up展开大规模招聘 汇聚成员创作《剑星》第二部

韩国游戏开发商Shift Up在今日(11月21日)宣称开启大规模招聘。这家公司凭借热门游戏《剑星》声名远扬。此次人才招募活动会持续开展,并无截止日期。 据公告所示,公司目前正在为…

无限暖暖2.0版本必领福利分享指南

《无限暖暖》2.0版本「祷声起诸大地」现已正式开启,本次版本不仅带来了丰富的全新内容,还准备了诸多福利活动。接下来,小编将为大家整理开服期间的必领奖励、版本核心任务以及可用的兑换码…

善待动物组织PETA再掀波澜 发布无声铃鹿惊悚图片指责《赛马娘》

近日,动物保护组织PETA通过官方社交媒体发布了一条与《赛马娘Pretty Derby》相关的内容,该帖子引发了粉丝玩家群体的争议。帖子中表达了对赛马运动的批判立场,同时附带的插图…

崩坏星穹铁道v3.7货币战争获取星琼攻略秘籍

各位小伙伴,崩坏星穹铁道新常驻玩法“货币战争”大家都体验了没?小编研究后发现,这玩法在奖励方面相当大方,仔细一算竟然能拿到4000星琼呢!所以说,这个玩法活动很值得大家深入琢磨琢磨…

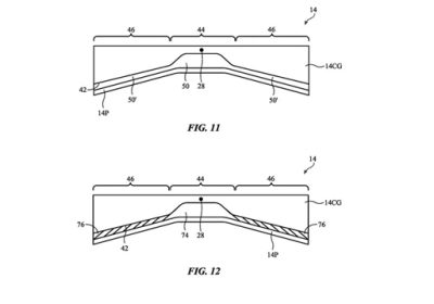
苹果解决折痕问题:折叠屏iPhone终于即将面世

随着三星、谷歌等品牌的折叠屏手机已上市多年,科技界始终在关注苹果何时会进军这一市场。综合相关报道来看,虽然苹果官方尚未发布任何声明,但从多项分析师的预测以及专利信息中可以发现,折叠…

《影之刃零》制作人明确表示:独占特指PS5,PC端会同步上线

此前我们曾报道,《影之刃零》计划于2026年9月9日登陆PC与PS5平台,暂不登陆Xbox平台。 实际上《影之刃零》在主机平台属于PS5限时独占游戏,其独占期限不少于一年,这也就表…

1 69 70 71 103